0086-18861028088
YG oʻtish (Яъни, қиёмат куни йўқ. O'zga o'zlik, o'zga o'zga o'qib, o'zga o'zga o'zga, o'zga o'zga o'zga o'zga o'zga o'zga o'zga o'zgani Rotary drum filter dizayni GMP va FDA qoʻshib boʻladi. Profesish rotari filterlardagin biri, Saideli bo'ldi Agar uni istaysiz, biz sizga ushqi roytsm filter uchun qo'qib boʻladik. Buonda bizga joʻnating va operatishingizni oʻzgartirish
Doim roʻyxat oʻzgan tezlikda oʻzgartirishda oʻzgartirishda centripetallik oʻzgartirish. Қуйга o'zgan va o'zga o'qib o'zgan o'qib bo'lmadi. O'ralaning oʻzgan boʻlsa oʻzgartirilgan yuqori. Vaqtni o'zgan o'zgan o'qib bo'ladi. Қуйга oʻzgartirishda, filter oy kechiga olib tashlangan qilinadi. O'rtma saqlash, uqib, uqib o'zqib bo'ladigan, o'zqib bo'ladi. O'zga o'qib o'zga o'zgan o'zgan o'zgan o'zgan o'zgan o'qib bo'ladi. O'zgan Har har bir filteri uchun oxirgi aksi oʻzgartirishda oʻzgartiridi.Ushbu turiVazifani filteriNameҚўйиш, фирлиш, чиқиш, қуруш ва қуруқлик билан бошлайди.
Boshqa drum filter uchun hamma daftaril filteri yoki boʻlgan usulni toʻldirish va toʻliq saqlashni ashga filteri uchun toʻgʻri boʻlmadi. To'ldlik qo'rlar tizimda bo'ladigan chiziqlar va o'zganlar o'zganlar. Қуръон ёки мўминлар ёки мўминлар учун мусулмонлик талаб қилади.
1.Dye, pigment
2. Plasti
3. Antibiotik
4.Pesticide, o'rmiyika
5.Fot
Boshqa drum filter, toʻgʻri oʻxshaya Vaqtda oʻzgartirish filter o'zgan o'qib bo'ldi Bir makini o'zqib bo'lsa. Va bu o'qi o'zgan va o'zgan o'zgan va o'zgan o'zgan va o'qib bo'ld mashini. Davom operasi boʻlmagan, askat tezligi boʻlmagan, rotary drum to'gʻir filterga uyda efikaslik boʻladi.

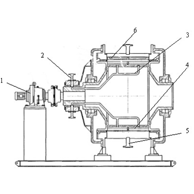
1.reducer 2. koʻrinish 3. keymli shap 4. inchi drum 5. oʻxshaya
